Оригинальные каталоги
| № | Номер | Наименование | Цена | |
|---|---|---|---|---|
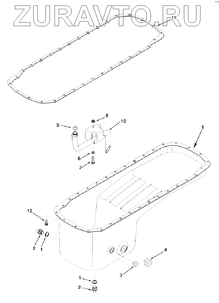
| ОР2152 | ОР2152 | Oil Pan | Нет в продаже |
|
| 1 | 67946 | Washer, Plain | Нет в продаже |
|
| 2 | 3055069 | Пробка слива масла магнитная (поддона) QSM ISM KT19 KT38 KT50 N14 (ОРИГИНАЛ) (О+) | Нет в продаже |
|
| 3 | 3008468 | Заглушка блока цилиндров (Оригинал) 3008468 | Нет в продаже |
|
| 4 | 3008470 | PLUG, PIPE | Нет в продаже |
|
| 5 | 4952775 | Pan, Oil TLA | Нет в продаже |
|
| 6 | 3009330 | Washer, Plain | Нет в продаже |
|
| 7 | 3254405 | Screw, Hexagon Head Cap | Нет в продаже |
|
| 8 | 3896022 | Retainer, Cap Screw | Нет в продаже |
|
| 9 | 3032787 | Seal, О Ring | Нет в продаже |
|
| 10 | 3328583 | Tube, Lub Oil Suction | Нет в продаже |
|
| 11 | 3401290 | Gasket, Oil Pan | Нет в продаже |
|
| 12 | 3896723 | Screw, Hex Flange Head Cap | Нет в продаже |
|
1
1
2
2
3
4
5
6
7
8
9
10
11
12
Содержащиеся в справочниках-каталогах запасные части и детали носят исключительно информационный характер