Оригинальные каталоги
| № | Номер | Наименование | Цена | |
|---|---|---|---|---|
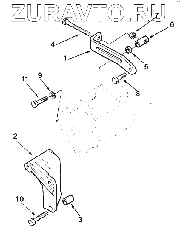
| ЕН2113-06 | ЕН2113-06 | Alternator Mounting | Нет в продаже |
|
| 1 | 3821836 | Link, Adjusting | Нет в продаже |
|
| 2 | 3883158 | Support, Alternator | Нет в продаже |
|
| 3 | 3883157 | Spacer, Mounting | Нет в продаже |
|
| 4 | 3040245 | Screw, Hexagon Head Cap | Нет в продаже |
|
| 5 | 3029507 | Spacer, Mounting | Нет в продаже |
|
| 6 | 3820876 | Retainer, Adjusting Screw | Нет в продаже |
|
| 7 | 3895300 | Nut, Regular Hexagon | Нет в продаже |
|
| 8 | 3335059 | Screw, Hexagon Head Cap | Нет в продаже |
|
| 9 | 108330 | Плоская шайба | Нет в продаже |
|
| 10 | 3081346 | Screw, Hexagon Head Cap | Нет в продаже |
|
| 11 | S120 | Screw, Hexagon Head Cap | Нет в продаже |
|
1
2
3
4
5
6
7
8
9
10
11
Содержащиеся в справочниках-каталогах запасные части и детали носят исключительно информационный характер