Оригинальные каталоги
| № | Номер | Наименование | Цена | |
|---|---|---|---|---|
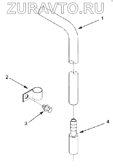
| BR2709-03 | BR2709-03 | Crankcase Breather | Нет в продаже |
|
| 1 | 3394702 | Hose, Plain | Нет в продаже |
|
| 2 | 107460 | CLIP | Нет в продаже |
|
| 3 | 3818060 | Screw, Captive Washer Cap | Нет в продаже |
|
| 4 | 3819475 | Tube, Breather | Нет в продаже |
|
1
2
3
4
Содержащиеся в справочниках-каталогах запасные части и детали носят исключительно информационный характер