Оригинальные каталоги
| № | Номер | Наименование | Цена | |
|---|---|---|---|---|
| 4914774 | 4914774 | BLOCK, CYLINDER | Нет в продаже |
|
| 3028075 | 3028075 | BUSHING | Нет в продаже |
|
| 3011951 | 3011951 | BUSHING | Нет в продаже |
|
| 3800219 | 3800219 | KIT, PDC CAM BUSHING | Нет в продаже |
|
| 3801106 | 3801106 | KIT, CAMSHAFT BUSHING | Нет в продаже |
|
| 3028269 | 3028269 | BUSHING | Нет в продаже |
|
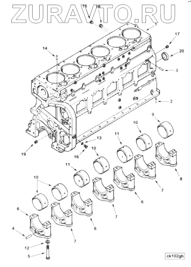
| 1 | 4914773 | BLOCK, CYLINDER | Нет в продаже |
|
| 2 | 67211 | DOWEL, REAR MAIN | Нет в продаже |
|
| 3 | 68585 | DOWER, PIN | Нет в продаже |
|
| 4 | 202903 | PIN, POLL | Нет в продаже |
|
| 5 | 3411337 | SCREW, HEXAGON HEAD CAP | Нет в продаже |
|
| 6 | 3008047 | CAP, MAIN BEARING | Нет в продаже |
|
| 7 | 3008048 | CAP, MAIN BEARING | Нет в продаже |
|
| 8 | 3008049 | CAP, MAIN BEARING | Нет в продаже |
|
| 9 | 3011951 | BUSHING | Нет в продаже |
|
| 10 | 3028075 | BUSHING | Нет в продаже |
|
| 11 | 3028269 | BUSHING | Нет в продаже |
|
| 12 | 3046246 | WASHER, PLAIN | Нет в продаже |
|
| 13 | 66292 | WASHER, PLATE | Нет в продаже |
|
| 16 | 210884 | PLUG, PIPE | Нет в продаже |
|
| 18 | 3008468 | Заглушка блока цилиндров (Оригинал) 3008468 | Нет в продаже |
|
| 19 | 3013786 | PLUG, PIPE | Нет в продаже |
|
| 20 | 3011952 | PLUG, EXPENSION | Нет в продаже |
|
1
2
3
4
5
6
6
6
7
7
7
8
9
10
10
10
11
11
12
13
16
18
19
20
Содержащиеся в справочниках-каталогах запасные части и детали носят исключительно информационный характер