Оригинальные каталоги
| № | Номер | Наименование | Цена | |
|---|---|---|---|---|
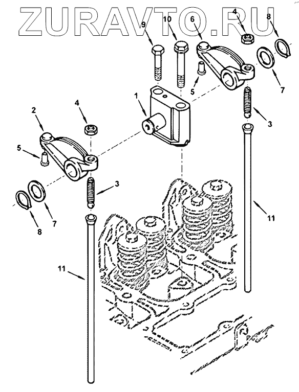
| BP9704-02 | BP9704-02 | Rocker Levers | Нет в продаже |
|
| 3922488 | 3922488 | Опора качающегося рычага | Нет в продаже |
|
| 3922487 | 3922487 | Вал качающегося рычага | Нет в продаже |
|
| 3910809 | 3910809 | Балансир рычага | Нет в продаже |
|
| 3910808 | 3910808 | Балансир рычага | Нет в продаже |
|
| 1 | 3911423 | Опора качающегося рычага | Нет в продаже |
|
| 2 | 3910811 | Балансир рычага | Нет в продаже |
|
| 3 | 3900706 | Сальник коленвала передний (63,5х79,5х8) 4-6BT (ОРИГИНАЛ) (О+) (3900709/3904353/3937111/4991305/3935959) | Нет в продаже |
|
| 3 | 3900706 | Сальник коленвала передний (63,5х79,5х8) 4-6BT (ОРИГИНАЛ) (О+) (3900709/3904353/3937111/4991305/3935959) | Нет в продаже |
|
| 4 | 3927692 | Шестигранная гайка | Нет в продаже |
|
| 4 | 3927692 | Шестигранная гайка | Нет в продаже |
|
| 5 | 3900705 | Вставка качающегося рычага | Нет в продаже |
|
| 5 | 3900705 | Вставка качающегося рычага | Нет в продаже |
|
| 6 | 3910810 | Балансир рычага | Нет в продаже |
|
| 7 | 3900245 | Гладкая шайба | Нет в продаже |
|
| 8 | 3900242 | Удерживающее кольцо | Нет в продаже |
|
| 9 | 3901221 | Винт с шестигранной головкой | Нет в продаже |
|
| 10 | 3920781 | Винт с шестигранным фланцевым цоколем | Нет в продаже |
|
| 11 | 3284377 | Штанга толкателя L 277mm 4-6BT (OEM) (O-) (3901898/3904364/3904679) | Нет в продаже |
|
1
2
3
3
3
3
4
4
4
4
5
5
5
5
6
7
7
8
8
9
10
11
11
Содержащиеся в справочниках-каталогах запасные части и детали носят исключительно информационный характер