Оригинальные каталоги
| № | Номер | Наименование | Цена | |
|---|---|---|---|---|
| BP97034-04 | BP97034-04 | Front Gear Cover | Нет в продаже |
|
| 3904351 | 3904351 | Tool, Seal Installation | Нет в продаже |
|
| 3937111 | 3937111 | Front Seal Service Kit | Нет в продаже |
|
| 3935582 | 3935582 | Cover, Gear | Нет в продаже |
|
| 3904352 | 3904352 | Tool, Seal Installation | Нет в продаже |
|
| 3913995 | 3913995 | Housing, Timing Pin | Нет в продаже |
|
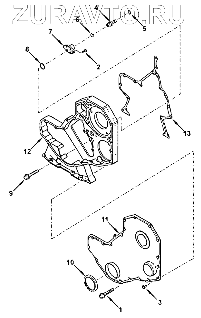
| 1 | 3924962 | Винт с шестигранным фланцевым цоколем | Нет в продаже |
|
| 2 | 3907998 | Винт с круглой шляпкой | Нет в продаже |
|
| 3 | 3900633 | Болт М8х1,25х50 (ОРИГИНАЛ) (О+) (3823261) |
20.4 Р
|
|
| 4 | 3903924 | Фиксатор положения коленвала (АНАЛОГ) (C) (3902627) | Нет в продаже |
|
| 5 | 3904849 | Стопорное кольцо | Нет в продаже |
|
| 6 | 3913994 | Уплотнение, О-кольцо | Нет в продаже |
|
| 7 | 3919683 | Картер, штифт согласования по времени | Нет в продаже |
|
| 8 | 3915772 | Уплотнение, прямоугольное кольцо | Нет в продаже |
|
| 9 | 3926846 | Винт с шестигранным фланцевым цоколем | Нет в продаже |
|
| 10 | 3935959 | Сальник | Нет в продаже |
|
| 10 | 3935959 | Сальник | Нет в продаже |
|
| 11 | 3935581 | Cover, Gear | Нет в продаже |
|
| 12 | 3936257 | Housing, Gear | Нет в продаже |
|
| 13 | 3931351 | Gasket, Gear Housing | Нет в продаже |
|
1
2
3
4
5
6
7
8
9
10
10
11
12
13
Содержащиеся в справочниках-каталогах запасные части и детали носят исключительно информационный характер