Оригинальные каталоги
| № | Номер | Наименование | Цена | |
|---|---|---|---|---|
| ОР9453 | ОР9453 | Поддон картера | Нет в продаже |
|
| 2831341 | 2831341 | Поддон картера двигателя 6ISBe 2831343 / 4898037 2831341 | Нет в продаже |
|
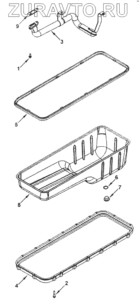
| 1 | 3025806 | Болт крепления отводной трубки, поддон картера М8*1,25*30 ISBe (Оригинал) 3025806 | Нет в продаже |
|
| 2 | 3901445 | Болт передней крышки, поддона ISBe 3901445 | Нет в продаже |
|
| 3 | 4942685 | Трубка забора масла с картере 6ISBe, ISDe 4942685 | Нет в продаже |
|
| 4 | 4938655 | Рамка поддона 6ISBe 4938655 | Нет в продаже |
|
| 5 | 4897861 | Прокладка поддона 6 ц V 5.9,6.7 6ISBe,6ISDe,ISBe220-31 (ОЕМ) (О-) (4934344) | Нет в продаже |
|
| 6 | 3287561 | Шайба уплотнительная пробки поддона 6ISbe 3287561 | Нет в продаже |
|
| 7 | 3282266 | Пробка поддона резьбовая 6ISBe (Оригинал) 3282266 | Нет в продаже |
|
| 8 | 2831343 | Поддон картера двигателя 6ISBe (АНАЛОГ) (C) (2831341/4898037) | Нет в продаже |
|
| 9 | 4898301 | Прокладка маслозаборника (Масляной трубки поддона) 4898301 | Нет в продаже |
|
1
2
3
4
5
6
7
8
9
Содержащиеся в справочниках-каталогах запасные части и детали носят исключительно информационный характер