Оригинальные каталоги
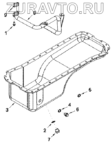
| № | Номер | Наименование | Цена | |
|---|---|---|---|---|
| OP9005ZZ | OP9005ZZ | Pa, oil | Нет в продаже |
|
| 1 | C3900630 | Болт | Нет в продаже |
|
| 2 | C3902425 | Шайба уплотнительная | Нет в продаже |
|
| 3 | C3915703 | Pa, oil | Нет в продаже |
|
| 4 | C3920773 | Шайба уплотнительная | Нет в продаже |
|
| 5 | C3920773 | Шайба уплотнительная | Нет в продаже |
|
| 6 | C3924147 | Пробка | Нет в продаже |
|
| 7 | C3924148 | Пробка | Нет в продаже |
|
| 8 | C3934942 | Coectio, oil suctio | Нет в продаже |
|
| 9 | D3938157 | Gasket, flange | Нет в продаже |
|
1
2
3
4
5
6
7
8
9
Содержащиеся в справочниках-каталогах запасные части и детали носят исключительно информационный характер